• Scroll to top
Skip to content

© 2016-2024 Prout. All rights reserved | Purchase

Security | Privacy & Cookie Policy | Terms of Service

comptoir de test comptoir de test
comptoir de test comptoir de test
comptoir de test comptoir de test
  • Le pilier || // du comptoir
    • Quel comptoir? || c’est vous qui choize!
      • plutôt ensoleillé
      • plutôt blanc
      • quoique bleu…
    • Ragoteur || ah ben oui, vous faites partie de la haute société de Comptoir
      • Mode jésus
  • Actualités || restez informés.
    • Processeurs || Intel, AMD, et même Cyrix !
    • Cartes mères || 1700, 2066, AM4, AM5, TR4,…
    • Mémoires || DDR, NAND, HMC…
    • Overclocking || Pour aller plus viiiite
    • Cartes graphiques || AMD, Nvidia, Intel, méplu 3DFX
    • Refroidissement || Air, eau, mazout ?
    • Boîtiers • Barebones || ITX, ATX, DTCX…
    • Alimentations || Un canon de jus d’électrons ?
    • Stockage || NVMe, SATA, USB, FW.
    • Periphériques || Ca fait beaucoup de choses
    • Software • Pilotes || Logiciels, pilotes….
    • Jeux vidéo || Parce qu’on aime bien GL&HF
    • IA & VR || GPT, Midjourney, VIVE, Oculus & cie
    • Modding & Systèmes || Des ptis trous, des gros trous…
    • Business & internet || Kibouffki, économie, potins…
    • Give me da f0nk! || Les inclassables qui poutrent
    • Alimentations
    • Boitiers • Barebones
    • Business & internet
    • Cartes Graphiques
    • Cartes mères
    • Divers • Fonkeries
    • IA & VR
    • Jeux vidéo
    • Les plans du comptoir
    • Mémoires
    • Modding & systèmes
    • Overclocking
    • Périphériques
    • Processeurs
    • Refroidissement
    • Software • Pilotes
    • Stockage
  • Tests & articles || devenez incollables.
    • CPU • Mobo • RAM
    • Cartes graphiques
    • Stockage • Cartes
    • Software • Jeux video
    • Boitiers • alimentations
    • Refroidissement
    • Quelques heures sur CDH || périphs & cie
    • Hard du hard
    • Boitiers • Alimentations
    • Cartes graphiques
    • Cpu • Mobo • RAM
    • Hard du hard
    • Quelques heures sur le comptoir
    • Refroidissement
    • Software • Jeux video
    • Stockage • Cartes
  • Bons plans || à ne pas rater !
  • Références||& Guides
    • Les références GPU & Mobos||et les guides aussi tiens
    • Guide des connecteurs||vidéo & définitions
    • C’est quoiiii le coil whine ?
    • Les histoires de TDP
    • De l’endurance des NAND
    • Casques audio & marketing
    • Il est frais mon PCB ?
    • GPU
    • Guide d’achat
    • Mobos
  • Jobs@CDH||Deviendre pilier ?
j'étais où juste avant ?
Processeurs

RDNA 3

Tag
  1. Tag: RDNA 3
Showing 1-12 of 12 results
Filters
amd rdna3 radeon gpu architecture for radeon strix point apus 3
22 mars 2024
3 min read

AMD parle d'architecture RDNA 3+ pour les Ryzen Strix, des processeurs attendus en 2024

Processeurs
radeon 7800XT ref board
6 septembre 2023
7 min read

Les RX 7800 XT & RX 7700 XT sortent du bois : des performances (presque) à la hauteur

Cartes Graphiques
amd fsr3 et les promesses...
25 août 2023
7 min read

FSR 3, RX 7700 XT 12 Go & RX 7800 XT 16 Go : AMD déballe tout

Cartes Graphiques
La Gigabyte Aorus RX 7900 XTX Elite : face avant
22 décembre 2022
4 min read

Ajout de la Gigabyte RX 7900 XTX Aorus Elite au dossier RX 7900

Cartes Graphiques
review rdna3 7900xtx 7900xt
12 décembre 2022
96 min read

Test • AMD Radeon RX 7900 XT & RX 7900 XTX

Cartes graphiques
amd radeon rx 7900 xtx xt launch event
12 décembre 2022
4 min read

Combien de RX 7900 sur les étalages pour finir 2022 ?

Cartes Graphiques
lisa su prez rdna 3 navi 31
28 novembre 2022
3 min read

Les caracteristiques des puces Navi 32 et Navi 33 semblent se préciser

Cartes Graphiques
4 novembre 2022
2 min read

La première RX 7900 customisée prend la pose

Cartes Graphiques
caract t
4 novembre 2022
10 min read

AMD annonce ses Radeon RX 7900 XT & XTX

Cartes Graphiques
Oh la belle courbe que voilà !
16 juillet 2022
4 min read

AMD prédit des GPU de 700 W à l'aube de 2025...

Cartes Graphiques
rdna3 perf par watt
25 juin 2022
4 min read

AMD confirme que ses cartes de demain consommeront plus aussi

Cartes Graphiques
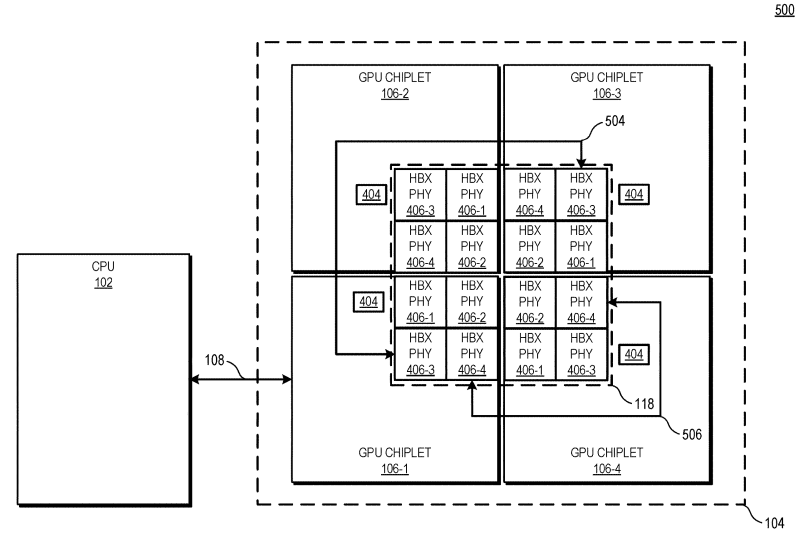
amd 4chiplet patent
5 mai 2021
8 min read

Déchiffrage des rumeurs sur RDNA 3, le premier GPU à chiplet ?

Cartes Graphiques
© 2016-2024 Prout. All rights reserved | Purchase
Security | Privacy & Cookie Policy | Terms of Service